F.1 适用范围
F.1.1 本标准适用于室温固化结构胶粘剂韧性重要标志——T冲击剥离长度的测定。
F.1.2 抗震设防区建筑加固所使用结构胶粘剂的韧性要求,可按本标准进行测试与合格评定。
F.2 原理
F.2.1 以一对软钢薄片胶接成T冲击剥离试样,在规定的条件下,对试样未胶接端施加冲击力,使试样沿其胶接线产生剥离。韧性不同的结构胶粘剂,其剥离长度有显著差别,从中可判别出其韧性的优劣。
F.2.2 通过测量试样剥离长度以及对不同型号胶粘剂测试数据的比较分析,可制定出以剥离长度为指标的、简易、实用的结构胶粘剂韧性合格评定标准。
F.3 试验装置
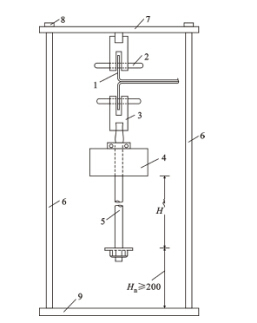
F.3.1 采用自由落体式冲击剥离试验装置,如图F.3.1所示。

图F.3.1 冲击剥离试验装置示意图
1-T形剥离试件;2-Φ10销棒;3-夹持器;4-冲击块P;
5-Φ20导杆;6-Φ20园钢杆;7-顶板(厚20);8-螺帽;9-底板(厚16)
(单位:mm)
F.3.2 冲击剥离试验装置采用45号钢制作,其表面应作防锈处理。
F.3.3 试验装置的零部件加工应符合下列要求:
1 作为自由落体的冲击块,应采用45号钢制作,其质量应为900+5 0 g;
![]()
![]()
2 自由滑落导杆应笔直,其表面加工的光洁度应达到 级;其设计控制的自由落下高度H应为305mm±1mm。
F.3.4 试验夹具的加工,应能使试样安装后的导杆轴线通过试样两孔中心。
F.4 试样
F.4.1 T冲击剥离试样由一对Q235薄钢片胶接而成(图F.4.1)。

图F.4.1 T冲击剥离试样尺寸(mm)
1-试片厚度t=1.0;2-胶缝;3-Φ12孔
F.4.2 试片加工的允许偏差应符合下列规定:
1 试片弯折后长度l:±1mm;
2 试片宽度b:仅允许有0.2mm负偏差;
3 试片厚度t:+0.1mm,且不得有负偏差。
F.4.3 试片胶接前应按结构胶粘剂对碳钢表面处理的要求,进行机械喷砂糙化处理。
F.4.4 试样制备应按结构胶粘剂使用说明书规定的胶接工艺及设计要求的胶层厚度进行。胶接后的试样应在加压状态下,固化养护7d;若有关各方同意,允许采用快速固化养护法,即:胶粘、加压后立即置入烘箱,在(50±2)℃条件下连续烘24h,经自然冷却并静置16h后进行试验。
F.4.5 每组试样不应少于5个。
F.5 试验条件
F.5.1 试验环境温度应为23±2℃,相对湿度应为55%~70%。仲裁试验必须按标准的湿度条件45%~55%执行。
F.5.2 若试样系在异地制备后送检,应在试验室环境下放置12h后才进行测试,且应作异地制备的记载于试验报告上。
F.6 试验步骤
F.6.1 试验前,应测量试片的胶缝厚度和胶缝长度,应分别精确到0.01mm。试样宽度的尺寸偏差应符合F.4.2的要求,否则该试样不得用于测试。
F.6.2 将试样挂在夹持器上,经检查对中无误后,用手将作为自由落体的冲击块提至设计高度H;突然松手,让钢块自由落下,使试样产生剥离。
F.6.3 测量并记录试样的剥离长度,精确到0.1mm。
F.7 试验结果表示
F.7.1 试验结果以5个试样测得的剥离长度的平均值表示。
F.7.2 若5个试样中,有一个试样的剥离长度大于其余4个试样剥离长度平均值的25%,表明胶粘工艺有问题,应重新制作5个试样进行测试。原测试结果应全部作废,不得参与新测试结果的计算。
F.7.3 试件破坏后的残件应按原状妥为保存,在未经设计人员观察并确认前不得销毁。
F.8 试验结果评定
F.8.1 T形试样抗冲击剥离的试验结果,应按表F.8.1的冲击剥离韧性标准进行评定。
表F.8.1 结构胶粘剂冲击剥离的韧性评定标准

F.9 试验报告
F.9.1 结构胶粘剂抗冲击剥离能力测试及其韧性评定的报告应包括下列内容:
1 受检结构胶粘剂来源、品种、型号和批号;
2 取样规则及抽样数量;
3 试样制备方法及固化养护条件;
4 试样编号、尺寸、外观质量、数量;
5 试验环境温度和相对湿度;
6 冲击装置的自由落体冲击块质量、自由落下高度;
7 试样剥离长度(应为经设计人员观察后确认的剥离长度);
8 试验结果的整理、计算和评定;
9 取样、测试、校核人员及测试日期。
下一篇 附录G 粘结材料粘合加固材与基材的正拉粘结强度试验室测定方法及评定标准
原文链接http://www.shhorse.com/Article/flfjgjzdjtc_1.html
(本文系悍马加固材料原创,转载请注明出处,并于本人联系,如有侵权,后果自负。)








