G.1 适用范围
G.1.1 本方法适用于试验室条件下以结构胶粘剂、界面胶(剂)或聚合物改性水泥砂浆为粘结材料粘合(包括涂布、喷抹、浇注等)下列加固材料与基材,在均匀拉应力作用下发生内聚、粘附或混合破坏的正拉粘结强度测定:
1 纤维复合材与基材混凝土;
2 钢板与基材混凝土;
3 结构用聚合物改性水泥砂浆层与基材混凝土;
4 结构界面胶(剂)与基材混凝土。
G.2 试验设备
G.2.1 拉力试验机的力值量程选择,应使试样的破坏荷载发生在该机标定的满负荷的20%~80%之间,力值的示值误差不得大于1%。
G.2.2 试验机夹持器的构造应能使试件垂直对中固定,不产生偏心和扭转的作用。
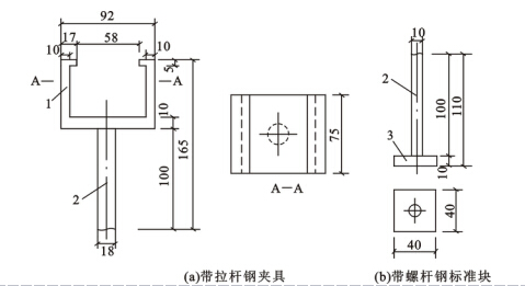
G.2.3 试件夹具应由带拉杆的钢夹套与带螺杆的钢标准块构成,且应以45号碳钢制作。其形状及主要尺寸如图G.2.3所示。

图G.2.3 试件夹具及钢标准块尺寸(mm)
1-钢夹具;2-螺杆;3-标准块
G.3 试 件
G.3.1 试验室条件下测定正拉粘结强度应采用组合式试件,其构造应符合下列规定:
1 以胶粘剂为粘结材料的试件应由混凝土试块(图G.3.1–1)、胶粘剂、加固材料(如纤维复合材或钢板等)及钢标准块相互粘合而成(图G.3.1–2,a);
2 以结构用聚合物改性水泥砂浆为粘结材料的试件应由混凝土试块(图G.3.1–1)、结构界面胶(剂)涂布层、现浇的聚合物改性水泥砂浆层及钢标准块相互粘合而成(图G.3.1–2,b)。

图G.3.1–1 混凝土试块形式及尺寸(mm)
1-混凝土试块;2-预切缝

图G.3.1–2 正拉粘结强度试验的试件及尺寸(mm)
1-加固材料;2-钢标准块;3-受检胶的胶缝;4-粘贴标准块的快固胶;
5-预切缝;6-混凝土试块;7-Φ10螺孔;8-现浇聚合物砂浆层(或复合砂浆层);
9-结构界面胶(剂);10-虚线部分表示浇注砂浆用可拆卸模具的安装位置
G.3.2 试样组成部分的制备应符合下列规定:
1 受检粘接材料应按其使用说明书规定的工艺要求进行制备;
2 混凝土试块的尺寸应为70mm×70mm×40mm,其混凝土强度等级,对A级和B级胶粘剂均应为C40~C45;对A级和B级界面胶(剂),应分别为C40和C25。对I级和II级聚合物砂浆,其试块强度等级与界面胶(剂)的要求相同。试块浇注后应经28d标准养护;试块使用前,应以专用的机械切出深度约5mm的预切缝,缝宽约2mm,如图G.3.1–1所示。预切缝围成的方形平面,其净尺寸应为40mm×40mm,并应位于试块的中心。混凝土试块的粘贴面(方形平面)应作打毛处理。打毛深度应达骨料新面,且手感粗糙,无尖锐突起。试块打毛后应清理洁净,不得有松动的骨料和粉尘;
3 受检加固材料的取样应符合下列要求:
(1)纤维复合材应按规定的抽样规则取样。从纤维复合材中间部位裁剪出尺寸为40mm×40mm的试件。试件外观应无划痕和折痕,粘合面应洁净,无油脂、粉尘等影响胶粘的污染物;
(2)钢板应从施工现场取样,并切割成40mm×40mm的试件,其板面及周边应加工平整,且应经除氧化膜、锈皮、油污和喷砂糙化处理;粘合前,尚应用工业丙酮擦洗干净;
(3)聚合物砂浆和复合砂浆,应从一次性进场的批量中随机抽取其各组分,然后在试验室进行配制和浇注。
4 钢标准块的制作应符合下列要求:
(1)钢标准块(图G.2.3.b)宜用45号碳钢制作。其中心应车有安装Φ10螺杆用的螺孔;
(2)标准块与加固材料粘合的表面应经喷砂方法的糙化处理;
(3)标准块可重复使用,但重复使用前应完全清除粘合面上的粘结材料层和污迹,并重新进行表面处理。
G.3.3 试件的粘合、浇注与养护应符合下列要求:
1 应在混凝土试块的中心位置,按规定的粘合工艺粘贴加固材料(如纤维复合材或薄钢板),若为多层粘贴,应在胶层指干时立即粘贴下一层;
2 当检验聚合物改性水泥砂浆时,应在试块上先安装模具,再浇注砂浆层;若该聚合物改性水泥砂浆使用说明书规定需涂刷结构界面胶(剂)时,还应在混凝土试块上先刷上专门的界面胶(剂),再浇注砂浆层;
3 试件粘贴或浇注时,应采取措施防止胶液或砂浆流入预切缝。粘贴或浇注完毕后,应按受检材料使用说明书规定的工艺要求进行加压、养护,分别经7d固化(胶粘剂)或28d硬化(砂浆)后,用快固化的高强胶粘剂将钢标准块粘贴在试件表面。每一道作业均应检查各层之间的对中情况。
G.3.4 对结构胶粘剂的加压、养护,若工期紧,且征得有关各方同意,允许采用以下快速固化、养护制度:
1 在50℃条件下烘24h;热烘过程中允许有±2℃的偏差;
2 自然冷却至23℃后,再静置16h,即可贴上标准块。
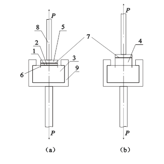
G.3.5 试件应安装在钢夹具(图G.3.4)内并拧上传力螺杆。安装完成后各组成部分的对中标志线应在同一轴线上。

图G.3.5 试件组装
1–受检胶粘剂 2–被粘合的纤维复合材或钢板 3–混凝土试块 4–聚合物砂浆层
5–钢标准块6–混凝土试块预切缝 7–快固化高强胶粘剂的胶缝 8–传力螺杆 9–钢夹具
G.3.6 常规试验的试样数量每组不应少于5个,仲裁试验的试样数量应加倍。
G.4 试验环境
G.4.1 试验环境应保持在温度(23±2)℃,相对湿度45%~70%。对仲裁性试验,相对湿度应控制在45%~55%。
G.4.2 若试样系在异地制备后送检,应在试验标准环境条件下放置24h后才进行试验,且应作异地制备的记载于检验报告上。
G.5 试验步骤
G.5.1 将安装在夹具内的试件(图G.3.4)置于试验机上下夹持器之间,并调整至对中状态后夹紧。
G.5.2 以3mm/min的均匀速率加荷直至破坏。记录试样破坏时的荷载值,并观测其破坏形式。
G.6 试验结果
G.6.1 正拉粘结强度应按下式计算,计算精确至0.1MPa:
fti=Pi/Aai (G.6.1)
式中 fti——试样i的正拉粘结强度,MPa;
Pi ——试样i破坏时的荷载值,N;
Aai——金属标准块i的粘合面面积,mm2。
G.6.2 试样破坏形式及其正常性判别:
1 试样破坏形式应按下列规定划分:
1)内聚破坏:应分为基材混凝土内聚破坏和受检粘结材料的内聚破坏,后者可见于使用低性能、低质量的胶粘剂(或聚合物砂浆和复合砂浆)的场合;
2)粘附破坏(层间破坏):应分为胶层或砂浆层与基材之间的界面破坏及胶层与纤维复合材或钢板之间的界面破坏;
3)混合破坏:粘合面出现两种或两种以上的破坏形式。
2 破坏形式正常性判别,应符合下列规定:
1)当破坏形式为基材混凝土内聚破坏,或虽出现两种或两种以上的混合破坏形式,但基材混凝土内聚破坏形式的破坏面积占粘合面面积85%以上,均可判为正常破坏;
2)当破坏形式为粘附破坏、粘结材料内聚破坏或基材混凝土内聚破坏面积少于85%的混合破坏,均应判为不正常破坏。
注:钢标准块与检验用高强、快固化胶粘剂之间的界面破坏,属检验技术问题,应重新粘贴;不参与破坏形式正常性评定。
G.7 试验结果的合格评定
G.7.1 组试验结果的合格评定,应符合下列规定:
1 当一组内每一试件的破坏形式均属正常时,应舍去组内最大值和最小值,而以中间三个值的平均值作为该组试验结果的正拉粘结强度推定值。若该推定值不低于本规范规定的相应指标,则可评该组试件正拉粘结强度检验结果合格;
2 当一组内仅有一个试件的破坏形式不正常,允许以加倍试件重做一组试验。若试验结果全数达到上述要求,则仍可评该组为试验合格组。
G.7.2 检验批试验结果的合格评定应符合下列要求:
1 若一检验批的每一组均为试验合格组,则应评该批粘结材料的正拉粘结性能符合安全使用的要求;
2 若一检验批中有一组或一组以上为不合格组,则应评该批粘接材料的正拉粘结性能不符合安全使用要求;
3 若检验批由不少于20组试件组成,且仅有一组被评为试验不合格组,则仍可评该批粘结材料的正拉粘接性能符合使用要求。
G.7.3 试验报告应包括下列内容:
1 受检材料的品种、型号和批号;
2 抽样规则及抽样数量;
3 试件制备方法及养护条件;
4 试件的编号和尺寸;
5 试验环境的温度和相对湿度;
6 仪器设备的型号、量程和检定日期;
7 加荷方式及加荷速度;
8 试件的破坏荷载及破坏形式;
9 试验结果整理和计算;
10 取样、测试、校核人员及测试日期。
原文链接http://www.shhorse.com/Article/flgzjdclzhj_1.html
(本文系悍马加固材料原创,转载请注明出处,并于本人联系,如有侵权,后果自负。)








